4-channel I²C switch with reset
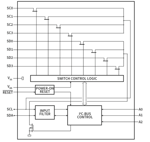
NCA9546 is a four-channel bidirectional switch controlled by I²C bus. SCL/SDA up-link data is spread out to four pairs of down-link data or channels. Any single SCN/SDN channel or combination of channels can be selected, depending on the contents of the programmable control registers. A low-level on reset (RESET) input enables the NCA9546 to recover from a prolonged low state of any down-link I²C bus. Pulling RESET low resets the I²C state machine and deselects all channels, as does the internal power-on reset function. With a on gate built into the switch, the VCC terminal can be used to limit the maximum voltage delivered by NCA9546. This allows each channel to use a different bus voltage so that parts with voltage of 1.8V, 2.5V or 3.3V can communicate with parts with voltage of 5V without any additional protection. External pull-up resistors pull the bus up to the desired voltage level for each channel. All I/O terminals can withstand 5.5V voltage.
Product Features
• 4-to-1 bidirectional switch
• Compatible with I²C bus and SMBus
• Low-level on reset input
• 3 address terminals, allowing up to 8 components to be connected to the I²C bus
• Channel selection via I²C bus, any combination is OK
• Allowing voltage level shift between 1.8V, 2.5V, 3.3V and 5V buses
• Operation supply voltage range is 2.3 V to 5.5 V
• Withstand voltage input of 5.5 V
• Clock frequency of 0 to 400kHz
• Latch-up performance is higher than 100mA, compliant with JESD78 Class II
• ESD protection performance higher than what are stated in JESD22
o2000V human body charge-discharge model (A114-A)
o1000V charging component model (C101)
• Operation temperature: -40℃~105℃
• RoHS compliant package: TSSOP-16
Application
• Server
• Router (telecom switching equipment)
• Factory automation
• Products with I²C slave address contention
Functional Block Diagram


For more product information, please contact us.