NSE11409 is a single-channel smart low-side switch developed for automobiles and industrial applications, featuring a withstand voltage of > 40V, and an internal resistance of about 90mΩ, it allows various diagnostic functions and different protections, and has passed AEC Q100 certification.
The IC is designed with a built-in VDD clamp of> 45V, which is especially suitable for driving inductive loads such as relays and valves to help them realize rapid demagnetization/deenergization. The IC is designed with an internal output current limiting function for overload protection and short circuit protection.
Product Features
• AEC-Q100 automotive qualified
• Operation ambient temperature: -40°C~ 125°C
• The operation voltage is up to 40V
• VDD clamp to support the connection to inductive load
• Overcurrent protection: current limit value> 8A
• Over-temperature protection: absolute over-temperature protection, relative over-temperature protection
• Error status diagnostic output (SO-8 Package): Open circuit detection, over temperature detection
• Ultra-low Quiescent current Iq < 5uA
Application
• BMS
• Body electronic controller
• Vehicle controller
• Air conditioning panel controller
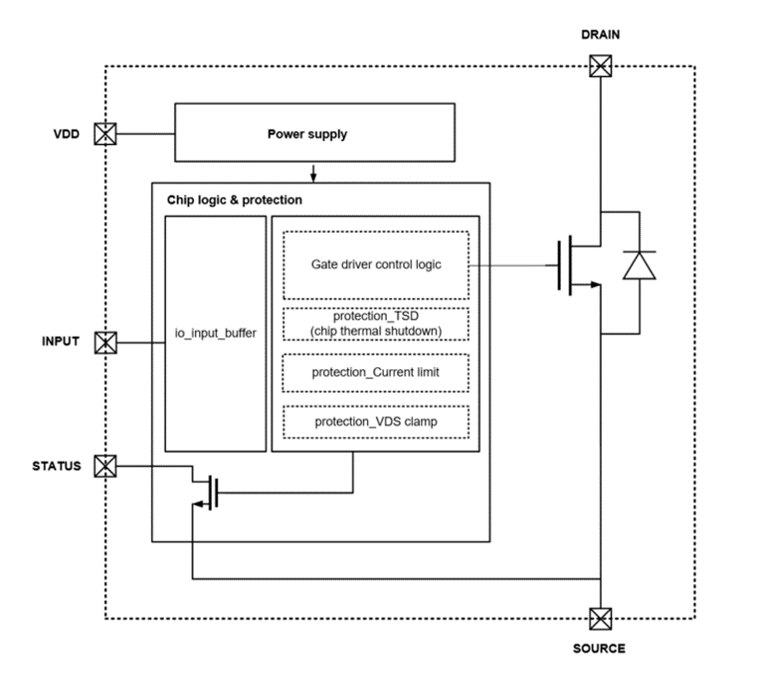
Functional Block Diagram


For more product information, please contact us.