HJC黄金城(中国区)官方网站黄金城

我们非常重视您的个人隐私,当您访问我们的网站时,请同意使用的所有cookie。有关个人数据处理的更多信息可访问《隐私政策》

产品中心
隔离半桥驱动

产品中心

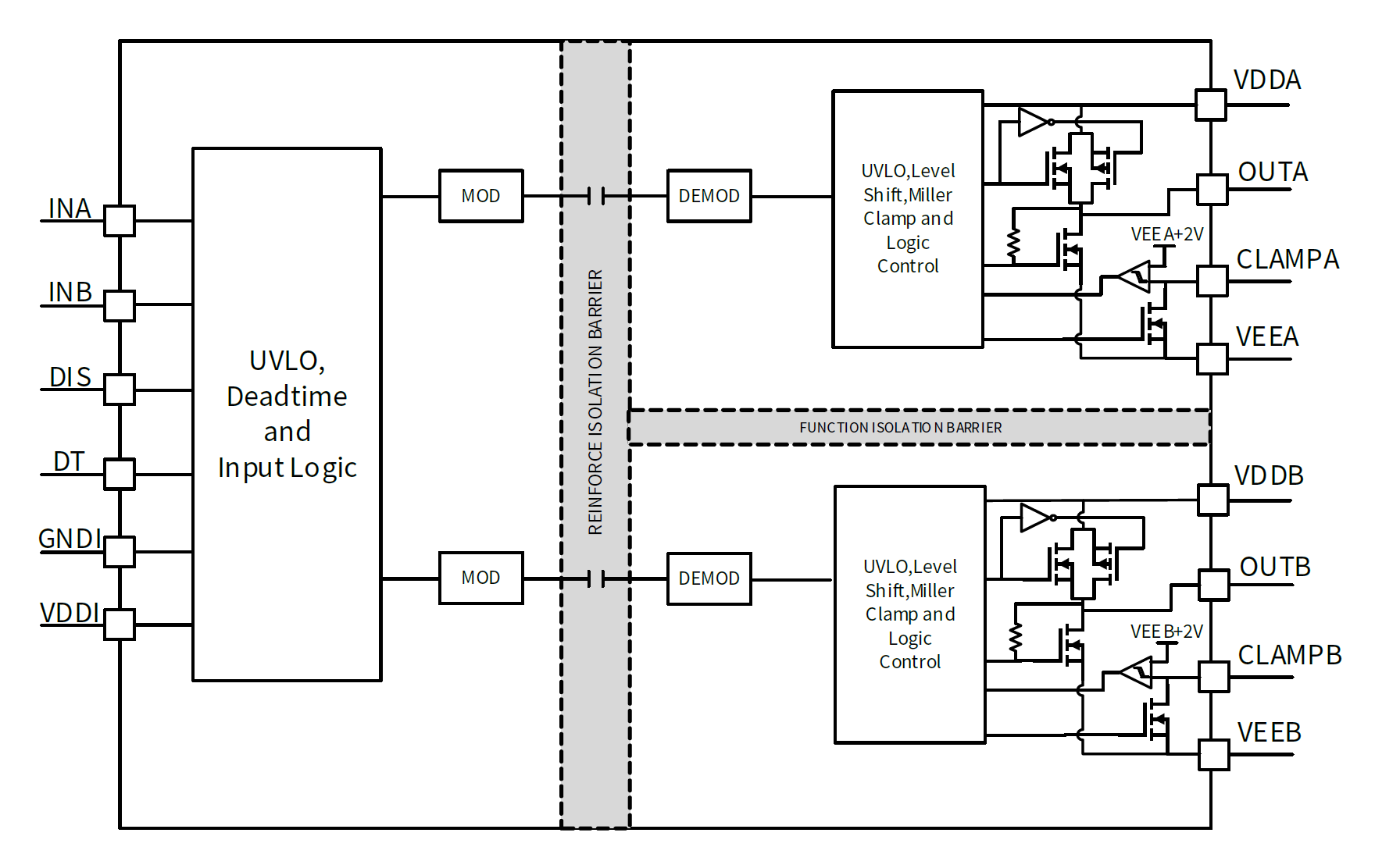
集成米勒钳位功能的隔离式双通道栅极驱动器

NSI6602M是一款集成米勒钳位功能的隔离式双通道栅极驱动器,专为驱动IGBT、功率MOSFET及SiC MOSFET而设计。能够提供5A/5A的拉灌电流,米勒钳位电流高达5A,typical 150 kV/μs共模瞬变抗扰度(CMTI)确保了系统的鲁棒性。该驱动器的最大耐压为35V,输入侧电源电压范围为3~5.5V,并具备欠压锁定(UVLO)保护。NSI6602M凭借其高驱动电流能力、双通道米勒钳位功能、出色的耐用性、宽电源电压范围及快速信号传播能力,广泛适用于高可靠性、高功率密度及高效率的开关电源系统。

产品特性

- 隔离式双通道驱动器

- 输入侧电源电压:3V~5.5V

- 驱动器侧电源电压:最大耐压35V,具有UVLO功能

- 峰值5A/5A拉灌电流能力

- 支持Miller Clamp功能,电流高达5A

- 高CMTI:typical 150kV/μs

- 典型传播延迟:80ns

- 最大延迟匹配:5ns

- 最大脉冲宽度失真:25ns

- 可编程死区时间

- 接受最小输入脉冲宽度:30ns

- 工作温度: -40℃~125℃

- AEC-Q100认证

安全认证

- UL1577认证:

   SOW18:1分钟 5kVrms

- CQC认证:符合GB4943.1-2011

- CSA认证:组件符合5A

- VDE认证:DIN V VDE V 0884-11:2017-1


应用场景

- 服务器,电信和工业中的隔离式DC-DC和AC-DC电源

- DC-AC太阳能逆变器

- 电机驱动和EV充电

- UPS和电池充电器

功能框图

image.png

如您需要咨询产品更多信息,请点击“黄金城”,我们将尽快回复您!

黄金城