我们非常重视您的个人隐私,当您访问我们的网站时,请同意使用的所有cookie。有关个人数据处理的更多信息可访问《隐私政策》
产品特性
• -40℃ ~ 150℃宽的工作环境温度
• 0.5 ~ 30 mV/G超宽可编程灵敏度范围
• <±1% 全温度范围内极小的灵敏度误差
• <±5 mV全温度范围内极低的零点漂移
• 3mvRMS行业领先的噪声表现
• 400KHz超高带宽
• 1.5us快速响应时间
• 业界领先的ESD性能:HBM:±8kV、CDM:±2kV
• 可选固定输出或比例输出版本
• 断地线检测,过压/欠压检测
• 过流保护功能
• 不同供电型号可选,3.3V 或 5 V单电源工作
• 1mm TO94封装以及多种引脚弯折形式
• 符合 RoHS 标准的封装
应用场景
• 电流传感器模组
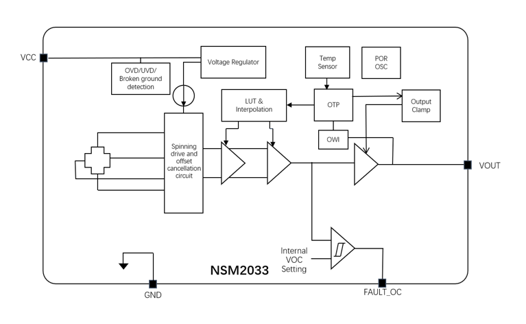
功能框图


如您需要咨询产品更多信息,请点击“黄金城”,我们将尽快回复您!